Индукционная варочная панель с вытяжкой Miele KMDA 7634 FR в Краснодаре
Уникальные индивидуальные
условия при посещении магазина
Характеристики
Особенности
Описание
Варочная панель работает на индукционном нагреве — это значит, что повышается температура непосредственно посуды, в которой готовится блюдо. Таким образом промежуточная ступень с предварительным нагревом конфорки пропускается — сокращается время, повышается безопасность. Количество конфорок в этой модели: 4.
Особенности панели конфорок, на которые стоит обратить внимание: Induction, FlexZone. Некоторые конфорки можно использовать не только по отдельности, но и как общее пространство, внутри которого расставлять посуду, как вам удобно.
Цвет — черный. Благодаря рамке она отделена от рабочей зоны и прочнее закреплена на столешнице. Материал самой поверхности: стеклокерамика. Управление этой моделью электронное. Для переключения уровней нагрева, выбора функций используются следующие переключатели: сенсорные/TouchControl. Продвинутая система контроля за прибором делают его современным и отвечающим на главные запросы покупателя.
В вашем распоряжении разные степени нагрева — каждая из них может понадобиться в зависимости от рецепта, а также от цели: приготовления, разогрева уже готовых блюд и т.д. Регулировка 9-ступенчатая. Благодаря специальной опции Power можно не устанавливать максимальную температуру, так как потом придется вовремя ее менять вручную. В этом режиме мощность сама подскакивает до предельных значений, но на короткое время, а затем также автоматически возвращается к прежним настройкам. Вы можете поставить нагрев на паузу тоже на небольшой промежуток времени, если надо отвлечься от готовки, но нужно помнить, что этот перерыв быстро закончится. Варочная панель распознает, что на нее поставили посуду, и не путает ее с другими вещами — например, салфеткой для уборки, не реагирует на прикосновения руки к конфорке. Благодаря этому вы можете быть уверены, что посторонние предметы не будут повреждены нагревом. Функция поддержания тепла дает возможность сохранить свежесть приготовленных блюд, даже если до ужина еще далеко.
Общие характеристики

По сравнению с другими типами нагревательных элементов индукционная варочная панель эффективно использует потребляемую энергию. Тепло генерируется не внутри конфорки, а непосредственно в днище посуды, в результате потери тепловой энергии минимальны. Если сравнивать индукционные зоны с Hi-Light, то первые оказываются на 20-30% экономичнее. Из всех варочных поверхностей индукционные характеризуются наивысшим КПД — 90-93% (у электрических варочных панелей с чугунными конфорками эта величина составляет 53-56%, а у газовых — 49-52%).

Независимая варочная панель с отдельным подключением к электросети или сети газоснабжения — удобная кухонная техника, главным преимуществом которой является возможность размещения в любом подходящем месте. Она может использоваться автономно: духовой шкаф при этом может отсутствовать вообще или размещаться где угодно, на любой высоте, а не в обязательном порядке под варочной панелью.
Независимая варочная поверхность имеет собственную панель управления, так что регулировать ее работу становится легче. Кроме того, исчезает необходимость приобретать варочную панель и духовку от одного производителя, что значительно расширяет выбор. Независимые панели могут иметь любой тип нагрева, любые размеры и любое количество конфорок — от одной до пяти или шести. Даже если варочная панель или духовка с независимым подключением выйдет из строя, на другие приборы это не повлияет: они по-прежнему сохранят работоспособность.
Недостатком устройств с подобным типом подключения считается обычно более высокая цена, а также нередкие затруднения с подбором техники в одном и том же цвете и стиле. Кроме того, для подключения двух приборов понадобятся две отдельные розетки.

Варочные панели встраиваются в столешницу: они могут располагаться как заподлицо, так и выступать над ее поверхностью. Особенности их расположения зависят от высоты (толщины) варочной панели, а та определяется, как правило, видом нагрева, материалом поверхности и типом подключения — зависимым или независимым.
В среднем у газовых моделей этот показатель больше, чем у электрических. Высота газовых варочных поверхностей составляет обычно от 4 до 10 см: важное значение при выборе модели имеет и толщина столешницы. Известно, что стандартная толщина столешницы из ДВП составляет около 38 мм: исходя из этого, высота газовых варочных панелей чаще всего составляет 4–5 см. Если варочная панель имеет большую высоту, ее обычно заглубляют в столешницу, стараясь при этом не повреждать внутреннюю сторону. Для этого под ней устанавливают дополнительную полку (фальшпанель), за счет которой уменьшается пространство в тумбе.
Электрические и индукционные варочные панели из стали, эмали и стеклокерамики имеют толщину от 4 до 5,5 cм, но выглядят более низкими, так как на них отсутствуют выступающие горелки. Как правило, подробные требования к толщине столешницы для установки приводятся в руководстве пользователя.

Ширина варочной панели — одна из важнейших ее характеристик, которая зависит главным образом от количества и порядка размещения конфорок. Тип нагрева на нее практически не влияет. Как правило, конфорки размещаются в два ряда, причем более мощные располагаются во втором ряду. Производители выпускают также модели с одним рядом конфорок — например, для установки на кухонном острове, — а также с расположением зон нагрева в форме ромба или трапеции.
Стандартная ширина устройства составляет около 59–60 см: таковы наиболее востребованные четырехконфорочные модели. Подобный размер облегчает встраивание варочной панели в стандартную кухонную столешницу.
Устройства с одной и двумя конфорками считаются компактными: их минимальная ширина составляет около 19 см, но чаще всего выпускаются модели шириной около 30 см. Ширина варочных поверхностей с тремя конфорками достигает обычно 45 см: более мощная конфорка в таких панелях располагается отдельно, а две менее мощные — друг за другом. Большие варочные панели в пятью или шестью конфорками имеют ширину от 85 до 90 см: у моделей с 5 конфорками самая мощная обычно находится в центре. Панели шириной более 90 см служат чаще всего для профессионального использования.

Глубина варочной панели представляет собой расстояние от ближайшей к пользователю ее точки до самой дальней. В первую очередь глубина определяется соответствующими размерами столешницы, куда варочная панель будет встроена, и уже во вторую — количеством и расположением конфорок.
Необходимо помнить, что варочную панель нельзя размещать вплотную к стене: расстояние между стеной и прибором для электрических панелей должно быть не менее 5 см, а для газовых устройств расстояние составляет не менее 7 см. Соблюдать это условие необходимо, чтобы воздух мог свободно циркулировать вокруг варочной панели и не произошло перегрева, а также потому, что мощные конфорки обычно размещаются во втором ряду.
Наиболее распространенное значение глубины варочной поверхности — от 52 до 60 см: такие габариты могут иметь панели с любым количеством конфорок — от двух до шести или семи. Варочные поверхности с одной конфоркой или те, где конфорки располагаются в один ряд, могут иметь гораздо меньшую глубину — от 38–40 см. Отдельно следует рассматривать варочные панели со встроенной вытяжкой, наличие которой также влияет на глубину варочной панели. Подробные рекомендации по выбору и размещению модели приводятся в инструкции пользователя.

Размеры ниши для встраивания необходимо знать для правильной установки варочной панели, удобного доступа к конфоркам, обеспечения безопасности при приготовлении пищи. Выбирая варочную панель, требуется прежде всего определить место ее расположения. Не рекомендуется устанавливать варочные поверхности слишком близко к мойке — расстояние должно составить не менее 60 см и не более 1 метра. Рабочая поверхность между ними понадобится для подготовки продуктов.
Также опасно устанавливать варочную панель вплотную к холодильнику или шкафу: следует оставить между ними расстояние не менее 30 см. Зазор между задней стороной варочной панели и стенкой кухни составляет обычно не менее 50 см для электрических панелей и 70 см — для газовых. Иногда стену кухни защищают огнеупорной панелью.
Отверстие в нише выполняют, исходя из размеров самой варочной панели — они должны соответствовать друг другу либо немного превышать размеры выреза. При выборе наиболее распространенной варочной панели с 4 конфорками в столешнице вырезается отверстие шириной 59 см и глубиной около 49-50 см. Толщина столешницы должна быть немного меньше, чем высота варочной панели, в противном случае панель придется заглубить, чтобы она не слишком выступала.
Дизайн

Цвет варочной панели нередко становится одним из важных факторов, влияющих на выбор той или иной модели.
Разнообразие цветовых решений зависит от материала поверхности. Современные варочные панели изготавливаются из нержавеющей или эмалированной стали, стеклокерамики и закаленного стекла. Если стальные поверхности не предполагают большого разнообразия (речь может идти только о блестящей или матовой обработке), то остальные материалы могут окрашиваться в самые разные цвета — особенно это касается поверхностей, покрытых эмалью.
Стекло и стеклокерамика могут не только окрашиваться — на них наносятся различные рисунки и надписи, придающие технике неповторимый вид. Однако чаще всего эмалированные поверхности выпускаются в белом цвете, а стеклянные и стеклокерамические — в черном. Подобный выбор обусловлен меньшей трудоемкостью при изготовлении, а также универсальным характером этих оттенков, позволяющим успешно сочетать их с кухонной мебелью и другой техникой любого стиля.
Считается, что белый цвет наиболее маркий, но брызги, разводы, крошки и прочие загрязнения гораздо заметнее на черной поверхности. Самыми практичными следует признать поверхности серого и бежевого оттенков, которые, кроме того, лучше всего гармонируют с мебелью из натурального дерева.
Реже выпускаются панели других оттенков — коричневого, красного, оранжевого, зеленого, цвета меди, фиолетового, бордо — их достаточно трудно сочетать с кухонными гарнитурами и бытовыми приборами. Газовые варочные панели необычных оттенков нередко оснащаются и оригинальной медной, бронзовой или латунной фурнитурой в стиле ретро. Любители цветных варочных панелей могут обратить внимание на продукцию Smeg, Kuppersberg, Kaiser, Ilve, Franke и ряда других производителей.

Обработка края варочной панели — фактор, на который следует обратить внимание при выборе модели сразу по нескольким причинам. Наиболее распространенные виды обработки края панелей, особенно стеклокерамических и стеклянных — рамка из металла (стали, алюминия, реже меди), металлический профиль по всему периметру или частичный — по переднему краю или по бокам, скошенный передний или боковой край без рамки.
Чаще всего приходится делать выбор между моделями с рамкой и без нее. Прежде всего наличие рамки влияет на внешний вид изделия. Так, рамка из меди применяется обычно в моделях классического и ретро-стиля, а стальная может сочетаться с современным интерьером. Кроме того, рамка служит для защиты от жидкости, вытекшей по время готовки: благодаря ей влага не попадает на кухонную мебель. В ряде случаев рамка не позволяет посуде соскользнуть с поверхности. И, наконец, рамка защищает края панели от случайных повреждений и сколов, продлевая срок службы. Однако считается, что модели с рамкой менее удобны в уходе, так как под ее край может забиваться грязь, которую трудно удалить. У индукционных панелей рамка занимает часть площади, которую можно использовать для размещения посуды.
Хорошей альтернативой рамке является металлический профиль, который обычно устанавливается только спереди или сбоку. Он также не позволяет жидкости стекать на столешницу, но не «съедает» полезную площадь. Что касается варочных панелей без рамки, неизменной популярностью пользуются модели со скошенным краем. Такая обработка называется фацетной — внешняя сторона панели имеет огранку под углом 45 градусов. Такая панель очень легко чистится и эффектно выглядит, а современные методы огранки защищают края от сколов.
Варочные панели с прямым краем привлекают покупателей благодаря более низкой стоимости и также широко представлены у производителей.
Управление

Тип управления варочной панелью — один из основных параметров, по которому покупатель выбирает ту или иную модель. В настоящее время выпускаются варочные панели с механическим, электронным и сенсорным управлением (последнее можно считать разновидностью электронного). Выбор типа управления зависит прежде всего от предпочтений пользователя.
Оно может быть связано с видом нагрева — так, газовые панели чаще имеют механическое управление, а индукционные — сенсорное. Механическое управление применяется как для недорогих устройств, так и для элитных моделей в винтажном стиле. Как наиболее простое, оно считается и самым надежным. Регулировка параметров нагрева и включение прибора производятся при помощи поворота переключателя. Даже если рукоятка переключателя приходит в негодность, ее очень легко заменить. Минус подобного типа управления — наличие выступающих деталей: очистить их достаточно сложно.
Электронное управление предполагает, что варочная поверхность становится совершенно гладкой и не имеет выступов. Установка параметров работы производится при помощи сенсоров, к которым иногда могут добавляться кнопки экстренного отключения. Такую панель для очистки достаточно протереть влажной салфеткой. На поверхность из стекла и стеклокерамики наносятся обозначения: для регулировки степени нагрева, задания дополнительных опций достаточно прикосновения.
Различаются сенсоры-кнопки и слайдеры: в первых для регулировки интенсивности нагрева нужны несколько нажатий подряд, по вторых нужно провести пальцем вдоль специальной шкалы. Рядом с сенсорами располагаются индикаторы, которые оповещают о текущих параметрах работы устройства. Недостаток сенсорного управления — чувствительность к перепадам напряжение и достаточно сложный ремонт.

Дисплей в варочных панелях с электронным управлением служит для более наглядного отображения текущего состояния прибора, а также для удобного задания параметров работы. Для вытяжек, встраиваемых в варочную поверхность, панель управления может быть как отдельной, так и объединенной. Во втором случае управление работой вытяжки осуществляется с варочной поверхности.
В любом случае, для отображения информации могут использоваться дисплеи различных типов. В самом простом случае это цифровые дисплеи, на которых высвечивается выбранная мощность. Ряд производителей оснащает свои модели более информативными цифровыми дисплеями: так, дисплей Display Control в моделях от Franke сообщает об активации того или иного режима, остаточного хода или режима поддержания свежести воздуха встроенной вытяжки, необходимости замены жироулавливающего и угольного фильтров.
В моделях более высокого уровня могут устанавливаться сенсорные дисплеи, которые служат и для отображения, и для управления одновременно. Они могут быть черно-белыми или полноцветными, с регулировкой яркости, с символьными и графическими изображениями. Активация той или иной функции происходит при прикосновении к одному из значков.

Элементы управления варочной панелью позволяют включать и выключать прибор, регулировать интенсивность нагрева, активировать дополнительные функции — временно увеличивать мощность, подключать контуры расширения конфорок, объединять зоны нагрева, задействовать защиту от детей, экстренно выключать все конфорки сразу и многое другое.
Традиционно все элементы управления находятся в передней части варочной панели. Фронтальное расположение обусловлено самым удобным доступом к ним: все обозначения и подписи в таком случае хорошо различимы. Особенно это касается варочных панелей с электронным сенсорным управлением, которые не имеют выступающих частей. Даже если необходимо дотянуться до посуды на заднем ряду конфорок, сенсорные элементы управления не будут задеты, а следовательно, параметры приготовления пищи случайно не изменятся.
В моделях с механическим управлением для регулировки интенсивности нагрева используются выступающие над поверхностью поворотные переключатели. Как правило, механические варочные панели имеют газовый тип нагрева, в них используется меньшее количество дополнительных опций. В них элементы управления могут располагаться сбоку — как правило, с правой стороны.

Варочные поверхности с таким управлением проще в обслуживании, чем оборудованные поворотными переключателями, поскольку абсолютно гладкую поверхность легче мыть. Кроме того, они занимают меньше места на варочной поверхности, что позволяет использовать большую часть площади под рабочее пространство

Таймер варочной панели — это устройство, позволяющее задавать время приготовления пищи. По истечении указанного времени таймер подает звуковой сигнал о необходимости отключения конфорки или выключает ее самостоятельно в зависимости от модели. С помощью этой опции можно запрограммировать отключение любой конфорки или всех конфорок одновременно.

Таймеры на варочной панели служат в первую очередь для того, чтобы не пропустить готовность блюда и обеспечить безопасность в то время, когда включены зоны нагрева. Самые простые — таймеры обратного отсчета, которые позволяют выставить время готовки. По его истечении раздается звуковой сигнал.
Таймер с автоматическим отключением может действовать как для всей панели, так и для каждой конфорки в отдельности. Когда заданное время заканчивается, он отключает конфорку. В некоторых случаях (например, во время дневного сна детей) звуковой сигнал этого таймера может быть отключен. Таймер-будильник отличается тем, что не связан с конфорками: он будет работать, когда плита отключена, и подаст звуковой сигнал в заданное время. Иногда для выключения будильника требуется включить варочную панель.
Таймер прямого отсчета фиксирует реальное время работы конфорки: его используют, например, при приготовлении нового блюда. Таймер варки яиц позволяет получить яйца, сваренные всмятку, в мешочек или вкрутую, не тратя времени на отслеживание процесса. Экономичный таймер автоматически выключает питание за несколько минут до окончания заданного времени, так что приготовление завершается за счет остаточного тепла.

Функция паузы позволяет приостановить процесс нагрева — если вам необходимо отлучиться, а на плите уже что-то кипит. Включаем эту опцию и проблема решена — она автоматически ставит все конфорки на режим «подогрев» (он самый слабый). Теперь точно ничего не убежит. А как только вернетесь и нажмете на кнопку снова, панель сама восстановит те значения температуры, которые стояли прежде.

Индикаторы варочной панели позволяют отслеживать ход работы, оповещают об активации тех или иных функций, способствуют безопасности использования устройства. Они представляют собой светодиоды, расположенные на панели управления. Включение светодиода обозначает, что функция активирована. В некоторых случаях имеет значение и цвет сигнала. Кроме того, для индикации может использоваться цифровой дисплей, на котором высвечиваются условные обозначения или числовые значения, соответствующие той или иной опции. Индикаторы имеются не на всех варочных панелях — например, на поверхностях с газовым типом нагрева и механическим управлением необходимости в них чаще всего не возникает.
Электрические и индукционные варочные панели оснащаются целым рядом индикаторов в зависимости от модели и функционала устройства. Индикатор включения и выключения присутствует на всех панелях. Этот индикатор загорается при включении хотя бы одной конфорки и гаснет, когда все конфорки выключены. Еще один тип индикаторов, которые присутствуют на всех панелях, — индикаторы остаточного тепла, оповещающие о том, что конфорка, на которой недавно готовили, еще не успела остыть. Они позволяют защитить пользователя от ожога, а также воспользоваться остаточным теплом для разогрева блюд или доведения их до готовности. В ряде моделей индикация позволяет узнать, насколько остыла конфорка: индикаторы остаточного тепла в этом случае могут иметь две или три ступени, которым соответствуют разные условные обозначения.
Для каждой конфорки предусмотрен также индикатор уровня мощности: он показывает, какова интенсивность нагрева в конкретный момент. Если в данной модели имеется таймер, специальный индикатор указывает, сколько времени осталось до окончания приготовления или прошло с начала работы, дополнительно может также выдаваться сообщение о том, включен ли звуковой сигнал. Индикаторы активации различных опций могут оповещать о включении режимов оттаивания, подогрева, об активации функции паузы, автоматики жарения и закипания, функции временного увеличения мощности, о блокировке панели управления от детей.
Важное значение имеют индикаторы неисправностей: выведенные на дисплей коды позволят судить о характере возникшей ошибки. Индукционные панели могут оснащаться индикацией наличия посуды, которые в том числе сообщают, что на конфорке находится посуда из неподходящего материала.

Такой индикатор напомнит, что поверхность ещё горячая, и поэтому не стоит касаться её или ставить на неё предметы, чувствительные к высокой температуре. Кроме этого, он позволяет эффективно использовать остаточное тепло, чтобы сэкономить электроэнергию — можно подогреть уже приготовленное блюдо.
Индикация уровня мощности
Индикатор загрязнения фильтра вытяжки
Конфорки

В настоящее время для изготовления варочных поверхностей применяют материалы несколько видов — это эмалированная сталь, нержавеющая сталь, стеклокерамика и закаленное стекло.
Эмалированная поверхность — самый недорогой вариант, к тому же эмаль легче окрасить в разные цвета, кроме универсальных белого, черного и коричневого. Она хорошо переносит температурные воздействия, устойчива к химическим веществам, однако на ней легко появляются сколы и царапины. Эмаль хорошо чистится и достаточно долго сохраняет первоначальный вид. Чаще всего такое покрытие используется в газовых плитах и обычных электрических.
Нержавеющая сталь — материал надежный, долговечный, легко переносящий механическую, термическую и химическую нагрузку. Стальные поверхности стильно выглядят и сочетаются с любыми стилями интерьера, но нержавейка несколько дороже эмали. В уходе этот материал достаточно удобен, хотя на нем легко остаются отпечатки пальцев и другие следы, которые нужно своевременно удалять. Из нержавеющей стали изготавливают газовые варочные панели и реже электрические.
Стеклокерамика представляет собой модифицированное стекло, подвергнутое термической обработке при высокой температуре, — при этом меняется ее кристаллическая структура, придавая материалу особую прочность и долговечность. Поверхности из стеклокерамики смотрятся очень выгодно — как правило, они выпускаются в черном цвете, иногда белом. Цветная стеклокерамика встречается достаточно редко. Гладкая блестящая поверхность легко чистится.
Несмотря на достаточно высокую стоимость, стеклокерамика используется для всех видов варочных панелей — газовых, электрических, индукционных. Особенно долговечными и безопасными считаются немецкая стеклокерамика Schott Ceran, не содержащая добавления тяжелых металлов, и французская стеклокерамика EuroKera с дополнительным слоем, придающим особую прочность и устойчивость цвета.
Закаленное стекло отличается от стеклокерамики более низкими допустимыми температурами — они составляют около 300°С, тогда как для стеклокерамики допустимы температуры до 750°С. Закаленное стекло используется для газовых варочных панелей. Самым надежным, прочным, не подверженным механическим повреждениям считается зеркальное закаленное стекло OptiGlass — из него изготавливаются индукционные варочные поверхности.
FlexZone

Под каждой FlexZone находится 20 овальных индукторов — их более чем достаточно для равномерного нагрева любого участка зоны. В результате повышение температуры происходит строго под дном установленной емкости.

Общее количество конфорок — фактор, напрямую влияющий на выбор варочной панели. Наиболее распространены четырехконфорочные поверхности, размер которых соответствует стандартному размеру столешницы и наиболее удобен для встраивания. Как правило, одна из конфорок в этом случае имеет увеличенную мощность, две конфорки — стандартную, а четвертая — малую мощность. Эта конфорка используется достаточно редко, так что зачастую даже для постоянной готовки может быть достаточно поверхности с тремя или даже двумя конфорками.
Двухконфорочные панели шириной около 30 см часто можно комбинировать с другими в дизайне «Домино». Такие панели нередко выбирают покупатели, которые пользуются для приготовления пищи другой техникой — мультиварками, духовками, СВЧ-печами. Конфорки при этом могут располагаться как в два ряда, так и в один, а форма панели может быть как привычной прямоугольной, так и овальной или в виде капли.
Большинство производителей предлагает также варочные панели с пятью, шестью и реже семью конфорками для семей с детьми, где необходимо много готовить. Увеличенное количество конфорок предполагает и большие возможности для приготовления разнообразных блюд.
Функции

Благодаря функции распознавания посуды нагрев варочной зоны происходит только в том случае, если на варочной панели стоит посуда. Система контролирует каждую варочную зону. Если посуда уже находится на одной из конфорок, то активация зоны происходит одновременно с включением панели конфорок.

Функция сохраняет температуру блюда примерно на уровне 60 градусов. Благодаря ей вы можете оставить кастрюли на конфорке перед ужином или приемом гостей и не разогревать еду перед подачей.

Вы можете объединить две и более конфорки в одну. Благодаря этому приготовление в нестандартной, овальной или крупной посуде не представляет проблем.
У разных производителей эти зоны называются по-разному: Bridge, XpandZone, MultiZone и т. д.

Функция позволяет сэкономить время и энергию, доведя блюдо до кипения быстрее, чем при стандартном нагреве.
Как работает:
- мощность сразу достигает максимума,
- когда жидкость закипает, специальный датчик сигнализирует об этом,
- мощность нагрева уменьшается до выбранных значений.
Индукционные панели достигают температуры кипения быстрее, чем электрические, поэтому данная функция становится еще удобнее.
Не все блюда можно готовить с этой функцией. В инструкциях обычно перечислены ограничения.

Функция Re-Start в индукционных варочных панелях предназначается для восстановления настроек — температуры приготовления, опций увеличения мощности, включения контуров расширения и многих других — после отключения зон нагрева.
У различных производителей предусмотрен разный принцип работы этой функции. Чаще всего она используется, если имеют место непредвиденные отключения варочной панели — например, в результате случайного нажатия, попадания жидкости на панель управления, внезапного скачка напряжения. Восстановление настроек в этом случае возможно, если после него прошло немного времени — приблизительно 4–6 секунд. В некоторых случаях — например, у варочных панелей «Нефф» — работа этой функции схожа с работой функции паузы Stop&Go и предусматривает отключение плиты по желанию пользователя. Иногда для активации Re-Start на панели управления имеется отдельная кнопка, но чаще для этого используется та же кнопка, что и для Stop&Go.
Использование этой функции позволяет сэкономить время, особенно если для приготовления используется не одна, а несколько конфорок одновременно. Такая опция имеется и у ряда газовых варочных панелей: настройки восстанавливаются после срабатывания защиты «газ-контроль».

Функция интенсивного нагрева. Мощность зоны нагрева значительно увеличивается на определенный промежуток времени, обеспечивая максимальную скорость нагрева.
TwinBooster
Автоматическое регулирование вытяжки

Автоматическое регулирование вытяжки — полезная функция, которая позволяет организовать согласованную работу двух устройств без участия человека и эффективно поддерживать чистоту воздуха в кухне.
Вытяжка с автоматической регулировкой будет включаться самостоятельно, как только начнет работу хотя бы одна зона нагрева варочной панели, и температура воздуха над ней повысится до определенного значения. Вытяжка также автоматически отключится, когда блюдо будет приготовлено, конфорки выключены, а температура воздуха снизится до установленного уровня. Благодаря автоматическому регулированию вытяжки можно не опасаться, что устройство не будет выключено вовремя, что позволяет также сэкономить электроэнергию.
Воздух в помещении будет своевременно очищаться от капель жира, продуктов горения, неприятных запахов. Интенсивность работы вытяжки в этом случае также регулируется автоматически, в зависимости от количества включенных конфорок и уровня нагрева: пользователю не нужно настраивать вытяжку вручную, что ведет к экономии времени. Подобной опцией оснащаются многие приборы премиум-класса: так, у фирмы Miele для этого служит функция Con@ctivity.
Мощность варочных зон
Диаметр варочных зон
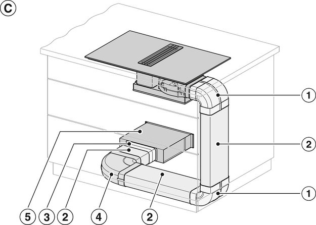
Встроенная вытяжка

Вытяжка, встроенная в варочную панель — достаточно удобный вариант, позволяющий сэкономить место в кухне. Такая конструкция позволяет лучше улавливать испарения, не давая им распространяться по всему помещению, и способствует более качественной очистке воздуха. Большинство подобных моделей может работать только в режиме рециркуляции воздуха, с удалением капель жира, сажи, неприятных запахов при помощи системы фильтров. Работу в режиме отвода загрязненного воздуха через систему вентиляции организовать довольно сложно, поскольку вытяжка располагается низко над полом. Часто варочная панель находится на кухонном острове, что также мешает присоединению к вентиляции. Еще одна особенность подобных моделей состоит в том, что под варочной панелью нельзя разместить духовку или другую технику, так как место будет занято.
Встроенные в варочную поверхность вытяжки могут быть двух типов: выдвижные и нет. Очень часто они работают совместно с варочной панелью, причем скорость всасывания также регулируется автоматически в зависимости от количества включенных зон нагрева и их мощности. Следует заметить, что большинство таких моделей относится к премиум-сегменту и стоит достаточно дорого.

Современные кухонные вытяжки могут работать в двух режимах — отвода и рециркуляции (или переключаться с одного на другой). Режим отвода предусматривает удаление загрязненного воздуха через систему вентиляции. Воздух выводится за пределы помещения — на улицу, в подвал, на чердак и т.п. Для присоединения к системе вентиляции потребуется проложить воздуховод, на что придется затратить дополнительные усилия. Вытяжки такого типа могут оборудоваться вентилятором, с помощью которого и удаляется грязный воздух, или реже действовать за счет естественной тяги. Работа такого прибора будет достаточно шумной, но качество очистки, в том числе от неприятного запаха, остается высоким.
Вытяжки, работающие в режиме рециркуляции, не нуждаются в подключении к вентиляции: все загрязнения удаляются при прохождении воздуха через систему фильтрации, после чего воздух возвращается в помещение. Кроме жироулавливающего, эти модели оборудуются фильтром из активированного угля, защищающим от неприятного запаха. Недостаток их — сменные фильтры: если жировые можно промыть проточной водой, то угольные обычно требуют замены. Плюсы этих вытяжек — простая установка, более разнообразный дизайн и низкий уровень шума.

Интенсивный режим в вытяжках, встроенных в варочную панель, работает так же, как и в обычных настенных или купольных. Он используется при очень сильных загрязнениях воздуха — например, если на кухне что-то сгорело, и нужно вывести дым, пар, частички сгоревшего жира, сажи и другие вредные вещества как можно скорее. Применяется он и при готовке на гриле, жарке во фритюре, приготовлении нескольких блюд на всех зонах нагрева одновременно. Двигатель при этом работает на максимальной мощности, скорость вращения вентилятора также достигает наибольших значений. Чтобы избежать перегрева, перегрузки и выхода оборудования из строя время работы в интенсивном режиме ограничивается. После автоматического отключения через несколько минут (как правило, 10-15) прибор начинает работать либо в режиме, который использовался ранее, либо просто переключается на третью ступень. Для активации режима может использоваться отдельная кнопка.
Этим режимом оснащаются модели, работающие как в режиме рециркуляции, так и в режиме отвода. При слишком частом его использовании в режиме рециркуляции потребуется чаще менять фильтры: промывать жироулавливающие и менять угольные.
Дополнительные характеристики
10-слойный металлический жироулавливающий фильтр
Зона PowerFlex: 230x390 мм, 3.4 / 4.8 / 7.3 кВт
Защита маркировки от вытирания
Легкоочищаемая внутренняя часть вытяжки
Жироулавливающий фильтр можно мыть в посудомоечной машине
Подключение контактного выключателя
Технические характеристики

Класс энергопотребления указывается в описаниях целого ряда варочных панелей, однако его значение нельзя считать официальным, так как стандартов энергоэффективности для этого типа приборов не существует.
Действительно, в отличие от духового шкафа или холодильника, варочная поверхность не имеет закрытой камеры, где нужно поддерживать ту или иную температуру. Для этого прибора необходимо, чтобы коэффициент полезного действия стремился к 100% для достижения оптимального результата. Чтобы оценить экономичность варочной панели, используется другой показатель — мощность энергопотребления в кВт. Она зависит от типа нагрева варочной панели, количества конфорок и их характеристик.
Уточнить значение мощности каждой конфорки можно в инструкции пользователя. Слишком малая мощность приводит к увеличению времени приготовления, а слишком большая создает дополнительную нагрузку на электропроводку. Общая мощность варочной панели составляет от 6,5 кВт для моделей с четырьмя конфорками до 10 кВт для устройств с шестью конфорками. Если проводка ненадежна, рекомендуется приобретать варочные панели с двумя конфорками общей мощностью около 3,7 кВт, которые можно подключать к обычной розетке.

Минимальная производительность вытяжки, в том числе встраиваемой в варочную панель, измеряется в м3/ч. Производительность вытяжки — основная характеристика, которую нужно учитывать при выборе модели: она показывает, насколько хорошо будет очищен воздух в конкретном помещении. Именно по ней можно судить, подойдет ли выбранное устройство для вашей кухни. Производительность вытяжки пользователь может достаточно легко рассчитать самостоятельно, зная площадь помещения в квадратных метрах и высоту потолков в метрах. Кроме того, в расчете используется коэффициент обновления воздуха: по санитарным нормативам воздух в любом помещении должен обновляться каждые 5 минут, то есть 12 раз в час. Перемножив эти три показателя (площадь, высоту потолков, коэффициент обновления), мы получаем минимальное значение производительности вытяжки для конкретного помещения. Более точный расчет учитывает, кроме того, количество поворотов воздуховода и коэффициент запаса мощности, который может составить от 15% до 30%. Производители предлагают модели, минимальная производительность которых составляет около 150-300 м3/ч, что соответствует кухне площадью порядка 5-10 кв.м.

Максимальная производительность вытяжки — показатель, который определяет, какое наибольшее количество воздуха она способна очистить за один час. Измеряется она в м3/ч. Как известно, производительность для вытяжки, включая модели, встроенные в варочную поверхность, можно рассчитать по простой формуле, зная площадь кухни и высоту потолка. Их произведение умножается на коэффициент обновления воздуха в помещении, равный 12. Полученный результат примерно определяет производительность вытяжки при работе на максимальной скорости.
При реальном использовании прибор достаточно редко работает на максимальной скорости долгое время, поскольку это ведет к его преждевременному изнашиванию, да и уровень шума слишком велик. Поэтому рекомендуется применять более точный расчет, где учитывается запас мощности, который составляет 1,3 для вытяжек с режимом отвода и 1,5 — для моделей с работой в режиме рециркуляции, тип варочной панели, расположение воздуховода, тип помещения — изолированное или нет, и другие параметры. В среднем максимальная производительность вытяжек для кухни площадью до 30 кв.м составляет 800-900 м3/час, однако для больших помещений можно найти модели производительностью до 2000 м3/час.

Производительность вытяжки в интенсивном режиме показывает, сможет ли она выполнять свои функции в случае форс-мажора. Интенсивный режим в моделях различного типа, в том числе со встраиванием в варочную панель, активируется при слишком сильном задымлении в кухне, а также при жарении во фритюре, на гриле, готовке на всех конфорках одновременно. Двигатель при этом работает на предельно допустимом уровне, а вентилятор вращается с максимально возможной скоростью. Чтобы не допустить поломки при такой нагрузке, интенсивный режим ограничивают по времени, автоматически отключая через 5-10 минут.
Покупатель может рассчитать самостоятельно примерное значение производительности в интенсивном режиме для определенного помещения. Для этого требуется знать объем помещения (или его площадь и высоту). Этот объем умножается на коэффициент замены воздуха по нормативам СЭС, составляющий 12 циклов в час. По полученному результату можно судить, какая производительность вам понадобится для очистки воздуха в экстренном случае: она может на треть превышать производительность на максимальной 3 скорости. Например, у моделей Falmec с производительностью 800 м3/час интенсивный режим дает производительность 1280 м3/час.
Безопасность

Одной из самых важных функций защиты техники от детей является невозможность случайного включения бытового прибора. Для этого любой кухонный агрегат оснащен специальной кнопкой включения, без удерживания которой невозможно привести в действие прибор.

Автоматическое отключение варочной панели — функция, которая предназначается для обеспечения безопасности домашней техники, мебели и членов семьи.
Современные варочные панели — устройства достаточно мощные, при их использовании может возникнуть риск ожогов, неисправности самой варочной поверхности, деформации кухонной мебели и даже возгорания. Особенно это касается электрических варочных панелей, конфорки которых могут продолжать нагрев в отсутствии посуды, если пользователь забыл их выключить.
Функция автоматического отключения активируется, если включенная конфорка нагревается до предельно допустимой температуры. Нагревательный элемент при этом отключается, а когда температура снижается до нормальных значений, нагрев продолжится снова. Другой вид автоматического защитного отключения связан со слишком продолжительной работой варочной панели. Если хотя бы одна из конфорок остается включенной долгое время, причем интенсивность нагрева остается неизменной, через определенное время варочная панель также прекратит работу автоматически. Это время определяется прежде всего степенью нагрева: как правило, в руководства пользователя приводится соответствующая таблица.
Защита от перегрева

Датчики реагируют на повышение температуры сверх выставленных значений, подают сигнал в блок управления — и конфорка отключается. Когда температура поверхности нормализуется, можно снова продолжать работу. При этом настройки режима не нужно вводить заново.
Защитное отключение

Защитное отключение конфорок способствует безопасной эксплуатации варочной панели, а также предотвращает перерасход электроэнергии.
Современные варочные панели остаются источником повышенной опасности, что связано с утечками газа, риском ожогов и возгораний, с перегревом и выходом из строя самой варочной поверхности. Защитное отключение реализуется разными способами в зависимости от типа нагрева. В газовых варочных панелях это функция «Газ-контроль», которая перекрывает подачу газа при случайном угасании пламени. В электрических и индукционных панелях предусмотрена функция автоматического отключения при перегреве, когда температура включенной конфорки превышает предельно допустимые значения.
После того как нагревательный элемент отключился, а конфорка остыла, нагрев включается снова самостоятельно. Для электрических панелей, которые поддерживают нагрев, даже если на конфорке отсутствует посуда, имеется защитное отключение при слишком продолжительной работе устройства. Если при этом не поступает никаких команд с панели управления, варочная панель также прекращает работу автоматически — время отключения при этом определяется степенью нагрева.

Защита от неправильного подключения — необходимая мера безопасности, которая защищает устройство от повреждений, а пользователя — от поражения электрическим током.
Подключение бытовых приборов к сети, особенно самостоятельное, без участия квалифицированных электриков, нередко совершается с ошибками. В числе самых распространенных — неправильная полярность подключения, слишком высокая мощность, превышающая возможности проводки, неправильный выбор кабеля, подключение без использования устройства защитного отключения (УЗО). Все эти ошибки могут привести к тому, что варочная панель будет неправильно реагировать на команды, подаваемые с панели управления. В худшем случае не исключена возможность повреждения электропроводки или поломки варочной поверхности, а также удара электрическим током при прикосновении к поверхности.
Для предотвращения подобных ситуаций ряд производителей — например, британский бренд Maunfeld, — оснащает свою продукцию еще одним типом защиты, согласно которому панель не станет работать, если полярность проводов нарушена. Для полной защиты варочной панели рекомендуется выполнять подключение только силами специалистов.

Встроенная система охлаждения варочной поверхности позволяет предотвратить ее перегрев и возможный выход из строя. Она используется во всех индукционных варочных панелях, что связано с особенностями их конструкции.
Зона нагрева представляет собой участок стеклокерамической панели, под которым располагаются индукционные катушки. Сквозь них пропускается ток, создающий электромагнитное поле, которое генерирует вихревые токи в металлическом дне посуды. Поверхность при этом не нагревается, зато происходит постоянный нагрев катушек, в состав которых входит медь, а также других электронных элементов управления. Система охлаждения представляет собой встроенный вентилятор, который снижает температуру внутренней части варочной панели. Он включается, когда температура достигает критических значений: об этом поступает сигнал со специального датчика, расположенного с обратной стороны поверхности.
Применение охлаждающего вентилятора способствует надежности и долговечности прибора, однако увеличивает уровень шума. Следует помнить, что для отвода теплого воздуха между варочной панелью и духовкой, а также рядом стоящей мебелью должны оставаться зазоры.
Инструкции
Немецкая компания Miele специализируется на выпуске бытовой техники премиум-класса. Ее история насчитывает более 120 лет: еще в 1899 году компания, названная по имени одного из основателей Карла Миле, производила сепараторы и маслобойки. Бытовая техника начала изготавливаться с 1903 года — тогда была выпущена прогрессивная по тем временам стиральная машина «Модель А» с мешалкой на крышке. Затем была разработана стиральная машина с электродвигателем. Оборудование для стирки долго оставалось приоритетом компании: например, в 1953 году появилась первая стиральная машина с фронтальной загрузкой. С 1963 года компания производит машины для мытья посуды, а затем и встроенную технику для кухни.
На сегодняшний день производство «Миле» размещается не только в Германии, но и в Австрии, Чехии, Румынии и Китае. Девизом компании остаются слова «Все лучше и лучше»: каждый прибор проходит специальный тест на долговечность, а бренд вошёл в десятку лучших европейских корпоративных брендов. Среди самых популярных изделий — варочные панели, духовые шкафы, вытяжки, пароварки, холодильники, пылесосы, гладильные системы и, конечно же, посудомоечные и стиральные машины.
Последние отзывы о модели Miele KMDA 7634 FR

На данный товар не распространяются бесплатная доставка и бесплатное подключение. Услуги предоставляются в соответствии с действующим прайсом компании — основные варианты вам предоставит менеджер при подтверждении заказа, но вы можете изучить детали самостоятельно.
Доставка одного заказа до подъезда составляет 900 рублей в черте города (услуга рассчитывается на основе базового тарифа).
Доставка за чертой города рассчитывается по расстоянию: до 50 км — 900 рублей; 51-100 км — 1800 рублей; 101-150 км — 2400 рублей; 151-200 км — 2900 рублей.
*Чертой города считаются официально утвержденные административно-территориальные границы населенного пункта.
Обратите внимание: в стоимость доставки до квартиры (или места приема в квартире) входит подъем при наличии лифта в многоквартирном доме. Если он отсутствует или не работает, то необходимо внести дополнительную плату: 300 рублей/этаж для стандартной техники и 600 рублей/этаж для моделей из серии MasterCool, Range.
Для приема товара в квартире (в месте установки) необходимо соблюсти требования компании: для приема в помещении не понадобится перестановка мебели, снятие дверей с петель для заноса техники, демонтаж деталей товара для уменьшения его размеров. Так как технику доставляют только в упаковке, ее общие габариты не должны превышать размеры лестничного марша, площадки, дверного проема.
Если квартира или лестничный пролет не соответствуют этим требованиям, курьер передаст вам товар перед подъездом, перед дверью квартиры, либо в прихожей квартиры — в зависимости от того, где возникло препятствие.
Подключение проводится только мастерами компании Miele либо уполномоченных ею сервисных центров.
В этот пакет вместе со стандартной установкой входят:
- возможность подключения любых приборов, кроме газовых панелей;
- дополнительный выезд после установки в случае необходимости (его стоимость уже предусмотрена в пакете услуг);
- возможность подключения в день доставки (все коммуникации должны быть подготовлены, а у сервисной службы должен быть резерв на эту дату);
- возможность утилизации упаковки;
- возможность утилизации техники;
- расширенное обучение при установке.
Услуга предоставляется в Краснодаре и Краснодарском крае в радиусе до 50 км от установленных границ города.
Выбрать тип оплаты можно в корзине при оформлении заказа. Наш магазин предоставляет следующие варианты:
- наличными или банковской картой при доставке,
- онлайн-переводом,
- электронными деньгами (например, Webmoney),
- безналичным расчетом (доступно физическим и юридическим лицам).
Уточните условия при подтверждении заказа менеджером. За некоторые товары необходимо вносить предоплату — об этом вас также предупредит менеджер.
На данный товар распространяется официальная гарантия производителя. Обслуживание в течение всего гарантийного срока осуществляется авторизованными сервисными центрами производителя в соответствии с требованиями, указанными в Законе РФ «О защите прав потребителей».
Обратите внимание: гарантийный срок и установленный производителем срок службы — это разные понятия. Изготовитель принимает на себя ответственность по устранению неисправностей, если не указано обратного.
ВАЖНО!
При получении обязательно осмотрите прибор: нет ли на нем механических повреждений, соответствует ли комплектация заявленной.
Обратите внимание:
- Есть функции:
- ‐ Функция определения диаметра посуды
- ‐ Функция восстановления настроек
- ‐ Функция подогрева
- Ширина: больше на 11 см
- Глубина: меньше на 11.8 см
- Ширина встраивания: больше на 10.6 см
- Глубина встраивания: меньше на 11.4 см
- Страна производитель: Германия
- Высота: меньше на 15 см
- Нет функций:
- ‐ Автоматика закипания
- ‐ Функция re-Start
- ‐ Защита от неправильного подключения
- Ширина: меньше на 0.59999999999999 см
- Глубина: меньше на 0.6 см
- Высота: больше на 3.7 см
- Габариты (ВхШхГ): 23.8х80х52 см
- Размеры ниши для встраивания (Ш х Г): 78-80.4х50-52.4 см
-
Обработка края:
‐ Без рамки